NissanConnect Betriebsanleitung

Speichern eines Orts über die
Suchfunktion
Sie können einen zu speichernden Ort auf mehrere
Arten suchen.
1. Berühren Sie [Einstell.] auf der Startleiste.
2. Berühren Sie [Navigation].
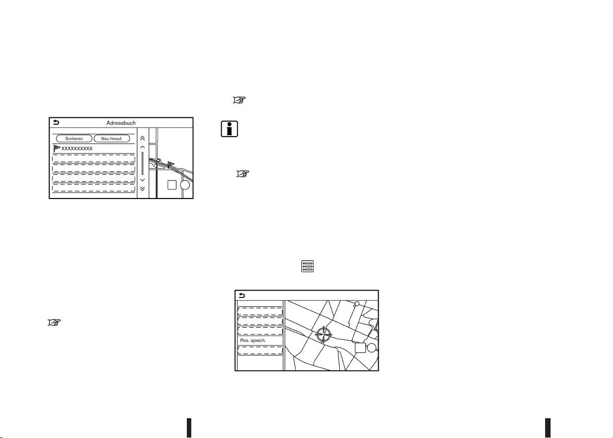
3. Berühren Sie [Adressbuch].
4. Berühren Sie [Gespeicherte Adressen].
5. Berühren Sie [Neu hinzuf.].
6. Berühren Sie eine gewünschte Methode zur Ein-
stellung eines Orts. Beziehen Sie sich auf die
Suchmethoden für die Einstellung eines Zielorts.
“Festlegen eines Zielorts” (Seite 127)
7. Berühren Sie [OK].
8. Eine Meldung wird angezeigt und die Adresse des
Zielorts wird im Adressbuch gespeichert.
9. Passen Sie den Inhalt des gespeicherten Eintrags
ggf. an oder ändern Sie diesen. Berühren Sie zur
Bestätigung [OK].
“Bearbeiten gespeicherter Orte”
(Seite 158)
INFO:
•
Wenn der Standort in [Gespeicherte Adressen]
gespeichert ist, kann er mit der Option [Adress-
buch] aufgefunden werden.
“Suche anhand des Adressbuchs”
(Seite 132)
•
Wenn bereits 200 Orte gespeichert wurden,
muss einer der gespeicherten Einträge gelöscht
werden, um einen neuen Ort speichern zu kön-
nen.
Speichern eines Standorts durch
Verschieben des Karteninhalts
1. Navigieren Sie auf der Karte zum gewünschten
Ort und berühren Sie [
m
] auf dem Touchscreen-
Display.
2. Berühren Sie [Pos. speich.]. Eine Meldung wird an-
gezeigt.
3. Das Symbol, welches die gespeicherte Position
darstellt, wird auf der Karte angezeigt. Betätigen
Sie <MAP>, um zum Kartenbildschirm des aktu-
ellen Standorts zurückzukehren.
SPEICHERN EINER ROUTE
Es können bis zu 10 berechnete Routen gespeichert
werden. Auf gespeicherte Routen kann für den spä-
teren Gebrauch bequem zurückgegriffen werden.
Eine Route benötigt zum Speichern mindestens ein
Zwischenziel.
1. Drücken Sie <MAP> und berühren Sie dann [Rou-
te] auf der Startleiste.
2. Berühren Sie [Route speichern]. Eine Bestäti-
gungsmeldung erscheint. Berühren Sie auf
Nachfrage [Ja], um die aktuelle Route zu spei-
chern.
Weitere Einstellungen
Sie können auch mit dem folgenden Verfahren eine
Route speichern.
1. Berühren Sie [Einstell.] auf der Startleiste.
2. Berühren Sie [Navigation].
3. Berühren Sie [Adressbuch].
4. Berühren Sie [Gespeicherte Routen].
5. Berühren Sie [Aktuelle Route speichern]. Eine Be-
stätigungsmeldung erscheint. Berühren Sie auf
Nachfrage [Ja], um die aktuelle Route zu spei-
chern.
5GB0792XZ
5GB0745XZ
156 Navigation (falls vorhanden)
Benötigen Sie Hilfe?
Haben Sie eine Frage zu Ihrem Nissan und die Antwort steht nicht im Handbuch? Stellen Sie hier Ihre Frage. Geben Sie eine klare und umfassende Beschreibung des Problems und Ihrer Frage an. Je besser Ihr Problem und Ihre Frage beschrieben sind, desto einfacher ist es für andere Nissan-Besitzer, Ihnen eine gute Antwort zu geben.
Wie zufrieden sind Sie mit dieser Seite?